Generators ED ED1000 ED1000 A G200-1000001-9999999 CONTROL - Nevada Power Products

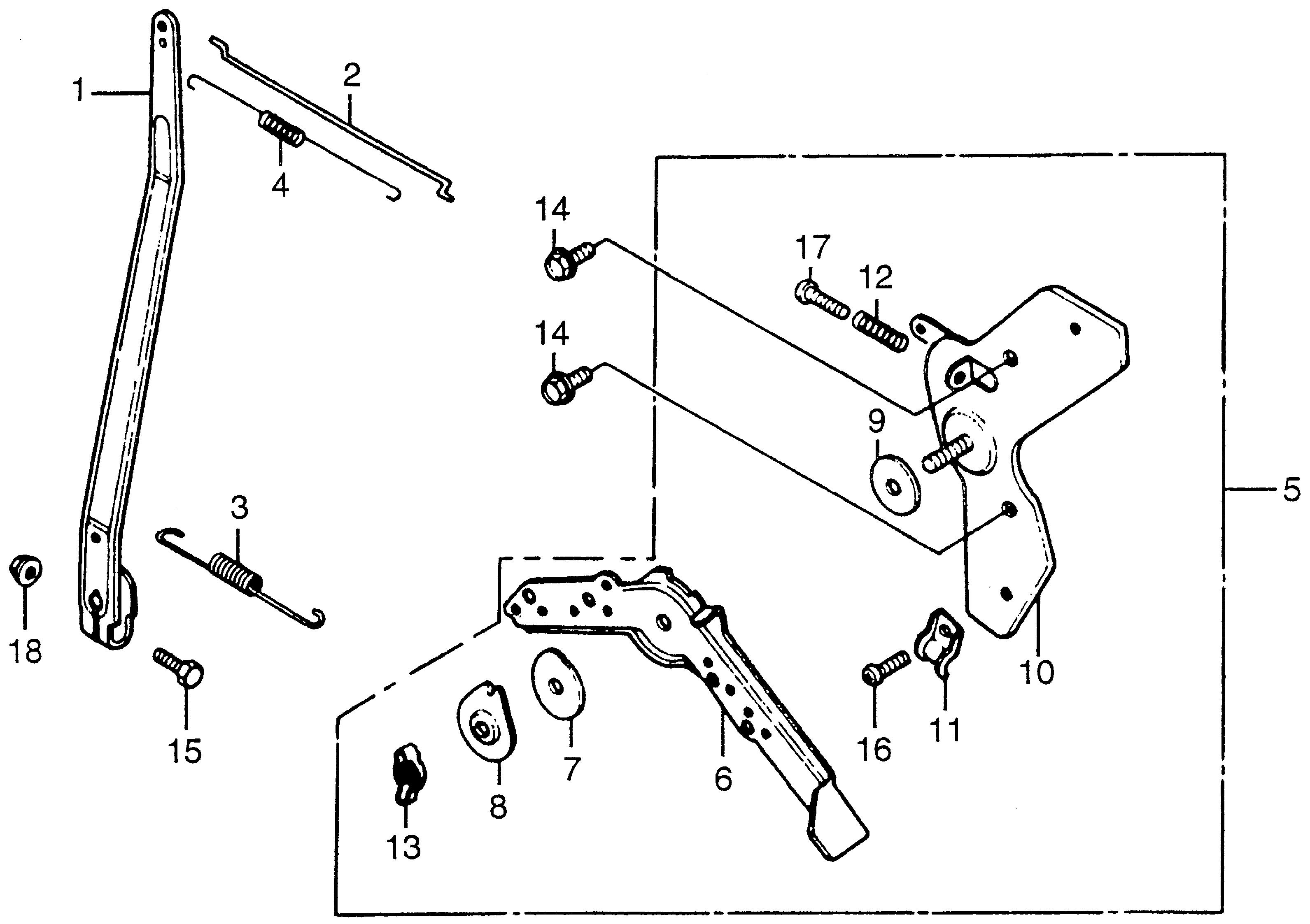
Ref No
Part Number
Description
Serial Range
Qty
Price

Ref No
1
Part Number
16551-883-000
Description
ARM, GOVERNOR
Serial Range
1000001 - 9999999
Qty
Price
$12.58

Ref No
2
Part Number
16555-883-010
Description
ROD, GOVERNOR
Serial Range
1000001 - 9999999

Ref No
3
Part Number
16561-883-010
Description
SPRING, GOVERNOR
Serial Range
1000001 - 9999999
Qty
Price
$5.88

Ref No
4
Part Number
16562-883-000
Description
SPRING, THROTTLE RETURN (NOT AVAILABLE)
Serial Range
1000001 - 9999999
Qty
Price
$4.16

Ref No
5
Part Number
16570-883-661
Description
CONTROL ASSY.
Serial Range
1000001 - 9999999

Ref No
6
Part Number
16571-883-300
Description
LEVER, CONTROL
Serial Range
1000001 - 9999999
Qty
Price
$22.38

Ref No
7
Part Number
16574-883-300
Description
SPRING, LEVER
Serial Range
1000001 - 9999999
Qty
Price
$4.24

Ref No
8
Part Number
16575-883-300
Description
WASHER, CONTROL LEVER
Serial Range
1000001 - 9999999
Qty
Price
$4.14

Ref No
9
Part Number
16576-883-300
Description
SPACER, CONTROL LEVER
Serial Range
1000001 - 9999999
Qty
Price
$5.68

Ref No
10
Part Number
16581-883-320
Description
BASE, CONTROL LEVER
Serial Range
1000001 - 9999999

Ref No
11
Part Number
16582-883-300
Description
HOLDER, CONTROL CABLE
Serial Range
1000001 - 9999999
Qty
Price
$4.14

Ref No
12
Part Number
16584-883-300
Description
SPRING, CONTROL ADJUSTING
Serial Range
1000001 - 9999999
Qty
Price
$4.86

Ref No
13
Part Number
82111-567-831
Description
WINGNUT (6MM)
Serial Range
1000001 - 9999999

Ref No
13
Part Number
90352-883-003
Description
WINGNUT (6MM)
Serial Range
1000001 - 9999999

Ref No
14
Part Number
90013-883-000
Description
BOLT, FLANGE (6X12) (CT200)
Serial Range
1000001 - 9999999

Ref No
15
Part Number
92101-06020-0A
Description
BOLT, HEX. (6X20)
Serial Range
1000001 - 9999999

Ref No
16
Part Number
93500-05010-0A
Description
SCREW, PAN (5X10)
Serial Range
1000001 - 9999999
Qty
Price
$1.10

Ref No
17
Part Number
93500-05022-0A
Description
SCREW, PAN (5X22)
Serial Range
1000001 - 9999999
Qty
Price
$0.82

Ref No
18
Part Number
94050-06080
Description
NUT, FLANGE (6MM)
Serial Range
1000001 - 9999999