Generators EB EB2200 EB2200X A GX140-1000001-3263982 LABELS - Nevada Power Products

Ref No
Part Number
Description
Serial Range
Qty
Price

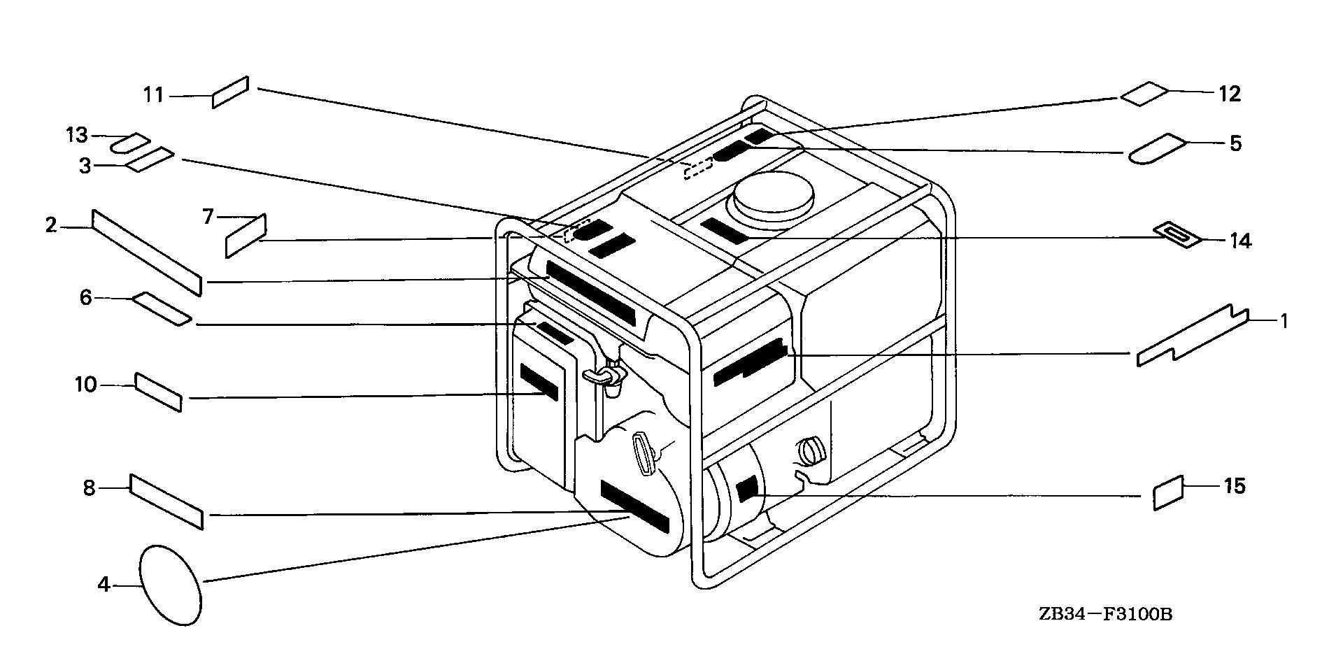
Ref No
1
Part Number
87101-ZB3-730
Description
EMBLEM (EB2200X) (NOT AVAILABLE)
Serial Range
1000001 - 9999999

Ref No
2
Part Number
87150-ZB3-730
Description
PLATE, CAUTION (NOT AVAILABLE)
Serial Range
1000001 - 9999999

Ref No
3
Part Number
87168-ZC3-630
Description
LABEL, RAIN WARNING (ENGLISH)
Serial Range
2738452 - 9999999
Qty
Price
$5.38

Ref No
5
Part Number
87522-883-660
Description
MARK, CAUTION (ENGLISH/FRENCH/SPANISH)
Serial Range
1009733 - 9999999
Qty
Price
$5.00

Ref No
6
Part Number
87528-ZB2-630
Description
MARK, CHOKE
Serial Range
1000001 - 9999999
Qty
Price
$1.88

Ref No
7
Part Number
87530-ZB2-630
Description
MARK, RR. (HONDA) (NOT AVAILABLE)
Serial Range
1000001 - 9999999

Ref No
8
Part Number
87531-ZB2-000
Description
MARK, HONDA (NOT AVAILABLE)
Serial Range
1000001 - 9999999

Ref No
10
Part Number
87533-ZC0-630
Description
MARK, AIR CLEANER (ENGLISH)
Serial Range
1000001 - 9999999
Qty
Price
$4.08

Ref No
11
Part Number
87539-ZB2-630
Description
MARK, EX. CAUTION
Serial Range
1000001 - 9999999
Qty
Price
$4.58

Ref No
12
Part Number
87561-880-600
Description
MARK, CAUTION (ENGLISH/FRENCH/SPANISH)
Serial Range
1000001 - 9999999
Qty
Price
$5.56

Ref No
13
Part Number
87563-ZB4-631
Description
LABEL, CONNECT WARNING (ENGLISH)
Serial Range
1000001 - 9999999
Qty
Price
$6.82

Ref No
15
Part Number
87594-ZB2-630
Description
MARK, OIL CAUTION (NOT AVAILABLE)
Serial Range
1000001 - 9999999